by Dennis Crouch
Obviousness occupies an unusual place in patent law's procedural architecture. The Supreme Court in Graham v. John Deere Co., 383 U.S. 1 (1966), declared it "a question of law" while simultaneously identifying four "underlying factual inquiries" that must be resolved: the scope and content of the prior art, differences between the prior art and the claims, the level of ordinary skill, and any objective indicia of nonobviousness. The Graham test does not explain where we fit in additional inquiries of motivation-to-combine and reasonable-expectation-of-success, but we do know that these are also factual questions. What that means procedurally is that the judgment of the fact finder (often a jury or PTAB panel) is given deference on appeal.
But the mixed character of obviousness gives the Federal Circuit a powerful tool. By recharacterizing a fact-finder's assessment of the evidence as reflecting error of a "legal standard," the court can sidestep deferential review entirely. Questions of law are reviewed afresh - de novo - on appeal without any deference given to the lower court's judgment or reasoning. A new nonprecedential decision illustrates how this works in practice. Medivis, Inc. v. Novarad Corp., No. 2024-1794 (Fed. Cir. Mar. 3, 2026).
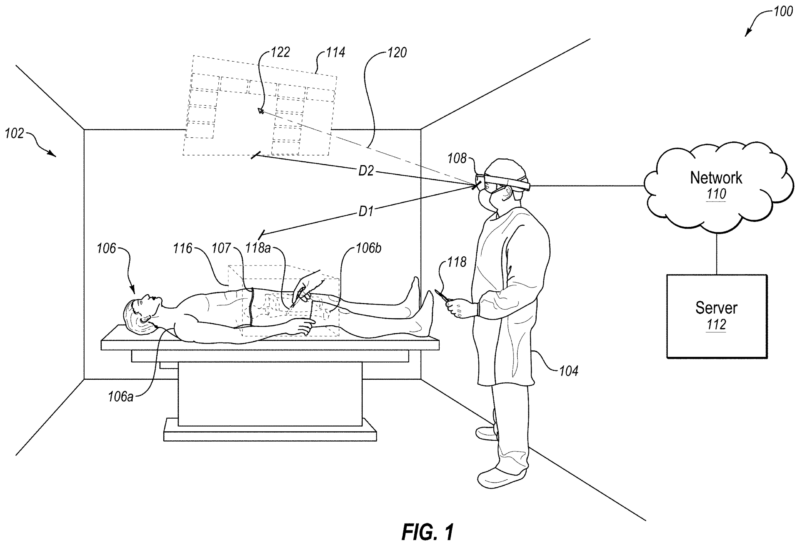
The patent at issue, US11004271, covers methods of augmenting a surgeon's real-time view of a patient through an augmented reality headset.
To continue reading, become a Patently-O member. Already a member? Simply log in to access the full post.
